KIPP Rastelement Mit Innenverzahnung

RASTELEMENT MIT INNENVERZAHNUNG, FORM:C, D4=23, N=38, H=13,5, STAHL BRÜNIERT
Artikelnummer: 480K1446.32338
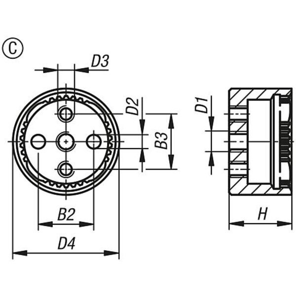
Rastelemente werden verwendet, um zwei Bauteile in beliebigen Winkelpositionen formschlüssig miteinander zu verbinden. Die innenverzahnten Rastelemente (Form A-D) sind mit den außenverzahnten Rastelementen (Form E-H), je nach Anwendungsfall und Montagemöglichkeit, beliebig miteinander kombinierbar. Die Druckfeder unterstützt ein schnelles Umsetzen auf eine neue Winkelposition. Werkstoff: Rastelement Stahl oder Edelstahl 1.4305. Feder Edelstahl 1.4310. Zylinderschrauben Stahl oder Edelstahl A 2. Ausführung: Rastelement Stahl brüniert oder Edelstahl blank. Feder blank. Zylinderschrauben Stahl Festigkeitsklasse 8.8, geschwärzt oder Edelstahl A2-70, blank. Bestellhinweis: Bei den innenverzahnten Rastelementen der Form A und B sind je 2 Zylinderschrauben mit Innensechskant M3x8 bzw. M5x10 im Lieferumfang enthalten. Bei den außenverzahnten Rastelementen (Form E-H) ist je eine Druckfeder aus Edelstahl im Lieferumfang enthalten. Hinweis: Zur Befestigung von Rastelementen der Form A oder B sind Zylinderschrauben nach DIN 7984 mit Innensechskant, niedriger Kopf zu verwenden. Funktionen: Die Rastelemente verwendet man zur rotatorischen Verstellung von Bauteilen. Die Befestigungsmöglichkeiten können anwendungsbezogen zusammengestellt werden. Zeichnungshinweis: 1) ausgerastet 2) eingerastet

Technische Eigenschaften:

  • Ausführung 1: mit Innenverzahnung
  • B2: 12
  • B3: 12
  • Benennung: Rastelement
  • D1=Gewinde: M4
  • D2=Passbohrung: 3H8
  • D3=Gewinde: M3
  • D4=Außendurchmesser: 23
  • Form: C
  • Gewicht in kg (ERP): 0.0208
  • H=Höhe: 13,5
  • Material Grundkörper: Stahl
  • Oberfläche Grundkörper: brüniert
  • Zähnezahl : 38
  • Preis inkl. MwSt.<span class="pricecomponent" ><span class="price" itemprop="price" content="23.79">23,79</span>&nbsp;<span class="currency" itemprop="priceCurrency" content="EUR">€</span></span>
  • Preis exkl. MwSt.19,99 
  • Preis exkl. MwSt.19,99 
Technische Daten
  • Gewicht20,76 kg
  • EAN4059245431359
  • Herstellerartikelnummer238875
  • ProduktartRastelement
  • AusführungStahl brüniert
  • Gewicht pro1000
  • Zolltarifnummer73182900
  • Hersteller/MarkeKIPP
  • Größe23
  • ECLASS 14.023-01-05-01 (Klemmhebel)