NORELEM Pneumatikspanner doppelwirkend

PNEUMATIKSPANNER GR.4, L6=196, B=77,5, F1=2, FORM:A STAHL, KOMP:EDELSTAHL
Artikelnummer: 48005331-04
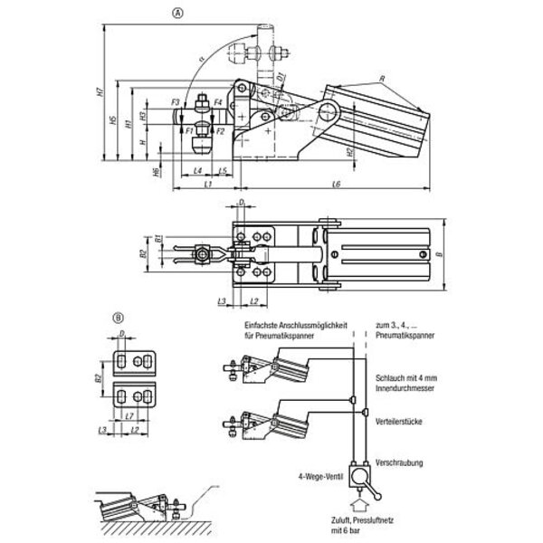
Werkstoff: Hebelteile Stahlblech, Achsbolzen Edelstahl. Ausführung: Hebelteile verzinkt. Pneumatikzylinder, doppeltwirkend. Mit Magnetkolben für Endlagenabfrage. Spanner verzinkt und passiviert. Komplett mit vergüteter, verzinkter und passivierter Andrückschraube mit Schutzkappe. Bestellbeispiel: nlm 05331-01 Hinweis: Pneumatikspanner haben gegenüber Handspannern folgende Vorteile: Die Bedienperson wird vom häufigen Spannen entlastet. Mehrere Spanner lassen sich gleichzeitig betätigen und können in bestimmter Reihenfolge geschlossen werden. Einzelne oder mehrere Spanner können durch Maschinensteuerung bzw. durch Handsteuerung von verschiedenen Stellen aus betätigt werden. Durch das Kniehebelsystem – bleibt der Spanner auch bei Luftausfall geschlossen – ist der Luftverbrauch durch die große Endübersetzung gering – wird durch das Schwenken des Spannarmes ein großer Öffnungsweg erreicht – ergeben sich optimale Kraft- und Bewegungsverhältnisse. VL = Luftverbrauch je Doppelhub in dm³ bei 6 bar. Auswahlkriterien: Zur Auswahl der richtigen Spannergröße ist bei den Pneumatikspannern neben der Haltekraft auch die mögliche Spannkraft bei 6 bar Luftdruck angegeben. F3 ist die mögliche Spannkraft, die der Spanner am Spannarmende, F4 die Kraft, die er auf der Drehpunktseite ausübt. Steuerung: Der Schaltplan für die einfachste Steuerung eines oder mehrerer Pneumatikspanner ist nebenstehend gezeichnet. Beim Aufbau von kompletten Schaltungen beraten die bekannten Hersteller von Pneumatikventilen, die auch alle erforderlichen Verbindungselemente und Armaturen liefern. Beachten: Die in der Tabelle angegebenen Kräfte F1 und F2 sind Haltekräfte; F3 und F4 sind Spannkräfte.

Technische Eigenschaften:

  • B=Breite: 77,5
  • B1: 10
  • B2: 45
  • Benennung: Pneumatikspanner
  • D: 8,6
  • D1: 16
  • entsprechende Druckschrauben: M8x65
  • F1 kN: 2
  • F2 kN: 3
  • F3 kN: 1,5
  • F4 kN: 2,2
  • Form: A
  • Gewicht in kg (ERP): 1.5400
  • Größe: 4
  • H: 45
  • H1: 90
  • H2: 64
  • H3: 20
  • H5: 98
  • H6: -3 - 25,5
  • H7: 191
  • L1: 101
  • L2: 32
  • L3: 13
  • L4: 45
  • L5: 25
  • L6=Länge: 196
  • Material Grundkörper: Stahl
  • Material Komponente: Edelstahl
  • R: G1/8
  • Ursprungs-Region: 08
  • VL: 0,8
  • a: 90,5°
  • Preis inkl. MwSt.<span class="pricecomponent" ><span class="price" itemprop="price" content="484.79">484,79</span>&nbsp;<span class="currency" itemprop="priceCurrency" content="EUR">€</span></span>
  • Preis exkl. MwSt.407,39 
  • Preis exkl. MwSt.407,39 
Technische Daten
  • Gewicht1,54 kg
  • EAN4059495384238
  • Hersteller/MarkeNORELEM
  • Größe4
  • Setnein
  • Gewicht pro1
  • Zolltarifnummer84798997
  • ProduktartPneumatikspanner
  • AusführungA
  • ECLASS 14.021-02-10-04 (Pneumatikspanner (Kraftspanner))