KIPP Bowdenzug Mit Kunststoffhülse Mit

BOWDENZUG MIT KUNSTSTOFFHÜLSE, MIT SCHRAUBNIPPEL, L=1000, EDELSTAHL, KOMP:KUNSTSTOFF
Artikelnummer: 480K1646.11X1000
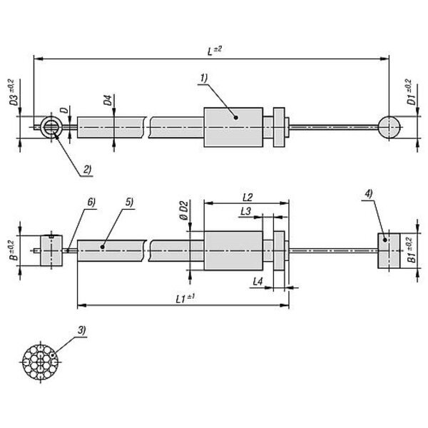
Werkstoff: Drahtseil aus Edelstahl. Zughülle aus Stahldraht mit Kunststoffummantelung innen und außen. Hülse POM. Nippel Zamak. Schraubnippel Stahl. Ausführung: Bowdenzughülle und Hülse schwarz. Schraubnippel verzinkt. Bestellbeispiel: K1646.11X110500 Hinweis: Die Bowdenzüge dienen zur Übertragung der Zugkraft und werden in Kombination mit Auslöser als Fernbetätigung eingesetzt. Es stehen unterschiedliche Längenvarianten des Bowdenzugs zur Auswahl. Um die Passgenauigkeit in der jeweiligen Anwendung zu gewährleisten kann der Bowdenzug bei der Montage entsprechend gekürzt werden. Beim Einbau von Bowdenzügen sind folgende Punkte zu beachten: Die Länge des freien Seilendes kann sich durch die Faktoren Verlegewinkel, Biegeradius und Last ändern. Beim Verlegen ist besonders darauf zu achten, dass der Mindestbiegeradius, in diesem Fall R = 65 mm, nicht unterschritten wird. Ein zu enger Radius kann zu erhöhtem Verschleiß und zu erhöhter Reibung führen. Eine kurzzeitige Unterschreitung des Mindestbiegeradius während der Montage sollte auch vermieden werden, da es sonst zur Beschädigung der Zughülle kommt. Die Hülle ist außerdem nur zur Aufnahme von Druckkräften ausgelegt. Wird an ihr zu stark gezogen wird die innenliegende Spirale gedehnt und dauerhaft beschädigt. Zugfestigkeit max. 1000 N. Lieferumfang: Drahtseil mit Nippel, Zughülle, Hülse und Schraubnippel. Zubehör: Auslöser K1481. Zeichnungshinweis: 1) Hülse 2) Schraubnippel 3) Aufbau 1x19 4) Nippel 5) Zughülle 6) Drahtseil

Technische Eigenschaften:

  • Ausführung 1: mit Kunststoffhülse
  • Ausführung 2: mit Schraubnippel
  • B: 7
  • B1: 8
  • Benennung: Bowdenzug
  • D: 1,5
  • D1: 5
  • D2: 9
  • D3: 5
  • D4: 4,8
  • Gewicht in kg (ERP): 0.0800
  • L=Länge: 1000
  • L1: 964,4
  • L2: 19,5
  • L3: 2,5
  • L4: 2,5
  • Material Grundkörper: Edelstahl
  • Material Komponente: Kunststoff
  • Preis inkl. MwSt.<span class="pricecomponent" ><span class="price" itemprop="price" content="21.75">21,75</span>&nbsp;<span class="currency" itemprop="priceCurrency" content="EUR">€</span></span>
  • Preis exkl. MwSt.18,28 
  • Preis exkl. MwSt.18,28 
Technische Daten
  • Gewicht80 kg
  • EAN4059245537006
  • Herstellerartikelnummer260493
  • ProduktartBowdenzug
  • Gewicht pro1000
  • Zolltarifnummer83071000
  • Hersteller/MarkeKIPP
  • ECLASS 14.027-37-13-03 (Mechanische Verriegelung für Schalter)